Altria, the parent company of tobacco giant Philip Morris whose $1.8 billion investment in a cannabis company was announced Friday, has over the past five years quietly patented dozens of devices that could be used to consume marijuana, a review of public documents at the US Patent and Trademark Office shows.
Altria’s patents and patent applications carry one of several generic descriptions, including “electronic cigarette,” “electronic smoking article,” “e-vaping” device, and “electronic vaping device.”
“They see a downturn in the tobacco industry, and they see this humongous upside in the cannabis industry.”
Many of them bear striking similarities to vape pens and other devices used to consume cannabis that are already on the market, according to patent attorneys and an independent product manufacturer who reviewed the patent filings at the request of Leafly News.
Exactly what Altria plans to do with its new intellectual property is uncertain. The company did not respond to multiple requests for comment for this story. But intellectual property experts noted that the number and breadth of the patents involved mean Altria could conceivably seek to charge competitors licensing fees or knock them out of the market entirely.
“What’s clear is that they’re making a play at the vaporizer market,” said Larry Sandell, a Washington, DC–based patent attorney. “This will be a good way to achieve dominance in that market.”
“They certainly have the force with litigation to sue people for patent infringement and try to knock others out of the market,” he added. “I can’t say whether it captures most of what’s out there on the market without looking at each individual patent, but [the number of patents] tells me they’re investing substantial resources and making a real strong play here.”
Generally, companies use patents either to secure licensing fees from other entities or to seek damages in court from companies that use their patented technology without permission. In order for a patent to be enforced, and thus have value for its owner, it must survive any challenges that arise in an infringement lawsuit. Such legal proceedings can be lengthy and costly endeavors, usually undertaken by big companies with deep pockets.
Taken as a whole with Altria’s recent investment in a Canadian cannabis producer and its earlier patent of a “terpene-producing plant,” the company’s patent flurry looks exactly like what a company looking to stake a claim in the marijuana industry would do, observers said.
“I think it’s certainly an indication” of the company’s intentions, said Nicole Grimm, a Chicago-based patent attorney.
“I don’t know of any one company with patents broad enough to cover tobacco, cannabis, and herbal-type devices,” she added. “Those patents have been around for a while, and there’s a chance some of them might be expired.”
Shop highly rated dispensaries near you
Showing you dispensaries nearSpeaking at an investors’ conference in Boston this past fall, Altria executives said that the company is “exploring our options” in the marijuana space.
“As you know, cannabis remains illegal under federal law, and we intend to continue to comply with federal law,” said Murray Garnick, the company’s executive vice president and general counsel. “Having said that, we are exploring our options, and we’re mindful of the possibility that in the future, cannabis may no longer be illegal under federal law.”
While none of the device patents secured by the company mention the words “cannabis” or “marijuana,” patent attorneys and product creators interviewed for this article said Altria’s patents are broad enough—and there are enough of them—for the company to potentially capture as intellectual property many popular cannabis vaporizing devices on the market.
On the Sidelines No Longer
Combined with Altria’s $1.8 billion in Cronos, a licensed Canadian cannabis producer, the patent filings suggest Altria has for years been quietly laying the groundwork to make a bold and broad claim for a large share of the burgeoning legal marijuana market.
“They see the market,” said Michael Cohen, a Los Angeles-based intellectual property attorney who also reviewed the patent filings. “They see a downturn in the tobacco industry, and they see this humongous upside in the cannabis industry. That’s happening.”
Even as cigarette consumption steadily declines in the United States, tobacco companies’ revenue has remained remarkably stable. Altria’s revenue has hovered around $25 billion for the past three years, according to market data.
“What’s clear is that they’re making a play at the vaporizer market.”
Recent trends, however, could spell future trouble for the tobacco industry. Even with the well publicized popularity of e-cigarettes, including the popular JUUL device—developed by a San Francisco–based firm that initially developed vaporizers designed for marijuana—overall consumption of tobacco products among young people has steadily decreased over the past decade, based on to data from the Centers for Disease Control.
According to an online database kept by the US Patent and Trademark Office, Altria holds 41 patents for devices that can be used to “vaporize” a material, according to the patents’ descriptions.
Applications were filed as early as 2013, records show. The first patent was issued in 2013; the most recent was issued on Dec. 4, 2018.

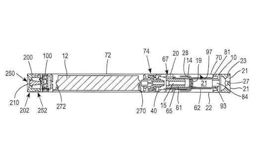
Patent #10,143,240: “E-vaping device having a section with a removable insulator between electrically conductive and passive elements” (US Patent & Trademark Office)
The company also has 51 other patent applications for “vaporizers” and another 70 applications for devices that can “vaporize” a substance, Leafly’s review found.
Vaporizers consist of a battery that produces heat and an apparatus, such as a coil, that delivers that heat to a tank or container, which is filled with some vaporizable material, whether a solid or a liquid. By nature of their simple design, the devices in Altria’s patents are “product agnostic,” Sandell said. “They don’t care what you put in them.”
But patent examiners will care that existing devices used for cannabis—currently available online and at most smoke shops in urban areas, with or without legal marijuana—are similar to Altria’s patented devices. And ultimately, it could cost those manufacturers.
“Cannabis guys historically simply used [existing] e-cig devices with their oil, and it just worked for the most part,” said Dan Fung, a New York-based device maker who has applied for a patent for a vaporizing device that takes two cartridges at once (and thus, he hopes, is different enough from Altria’s patents to be deemed his own intellectual property).
Other marijuana device makers, Fung said, “will likely have tons of issues going up against [Altria’s] filings, which appear broadly written enough so that they’ll cause problems for the cannabis vape IP filings.”
One leading vaporizer brand, Pax, has patents on three versions of its proprietary devices meant to vaporize cannabis flower. But the company’s popular Pax Era, which vaporizes cannabis concentrate, isn’t mentioned on the company’s IP page. Pax declined to comment for this story.
‘Capture the Market’
Similar to the rapid rise in popularity of e-cigarettes, vaporizing cannabis oil is considered by most market observers to be the fastest-growing segment of the estimated $10 billion marijuana market.
“The company that will bring out the first marihuana smoking devices, be a cigarette or some other form, will capture the market.”
In recent years, vaporizers have made their way into the hands and minds of celebrities, including actress and “wellness” entrepreneur Gwyneth Paltrow, whose Goop brand has devoted space to several different brands of vaporizer.
Meanwhile, major alcohol brands, such as Constellation Brands and Molson Coors, have already made large investments in publicly traded cannabis companies based in Canada. Even Coca-Cola has indicated interest in getting involved. By contrast, tobacco companies, including Altria, whose brands include Marlboro, Nat Sherman, and Black & Mild, have so far steered away from the cannabis industry—at least publicly.
But a closer look reveals that Altria’s patent flurry isn’t entirely without precedent. In 2016, reports arose that the company invested $20 million in an Israel-based firm, Syqe, that makes 3D-printed inhalers for consuming cannabis.
Altria also owns specific plant technology, having secured a patent for a “terpenoid-producing plant.” Terpenoids, or terpenes, are the essential oils in plants that grant them unique scent and taste. In cannabis, terpenes are increasingly understood to modulate marijuana’s effects on the body and mind.
Not mentioning cannabis specifically in the patents was most likely a deliberate choice for Altria, “because they don’t want to reveal themselves as a company involved in marijuana or the cannabis industry,” said Cohen, the Los Angeles–based intellectual property lawyer. “But they are clearly anticipating in the future there will be a move in which federal prohibition will go away, and they’re setting themselves up for that. It’s pretty obvious they’re doing that.”
Other hints sprinkled in Altria’s patent language led experts consulted for this article to believe that Altria’s technology could capture popular marijuana consumption devices, they said.
In addition to liquids containing nicotine, for instance, Altria’s patented devices can be used to consume “a non-tobacco material and/or may be nicotine free,” according to a description found in several of the patents. “For example, the liquid may include water, solvents, ethanol, plant extracts, and natural or artificial flavors.”
Such a description would apply to cannabis vape pens cartridges, which usually run between $40 and $60 on average and contain a plant extract—cannabis oil—as well as some residual solvents and cannabis terpenes for flavor.
Altria has a colossal claim on intellectual property. According to its most recent annual report filed with the Securities and Exchange Commission, the company has 7,800 registered patents and 7,700 pending patent applications—including the vaporizer technology.
And the desire to patent cannabis-related consumer products appears generations old.
As early as the late 1960s and early 1970s, Philip Morris executives have eyed marijuana as a potential growth opportunity. In a confidential 1969 letter to Philip Morris’s research laboratories, Alfred Berger, a professor overseeing the Phillip Morris Fellowship in Chemistry at the University of Virginia, wrote: “The company that will bring out the first marihuana smoking devices, be a cigarette or some other form, will capture the market and be in a better position than its competitors to satisfy the legal public demand for such products.”









